家庭网络结构
网络结构 :光猫拨号 –> ikuai作为主路由分发ip
ikuai子网网段为192.168.78.0/24
所有设备均有ipv6地址
想要实现的操作
- 操作1: 实现在外网可以通过ipv6访问家中内网设备
- 操作2: 实现ikuai开启openVPN服务端,外网客户端可以通过ipv6地址连接
- openVPN可行后,会打开ipv6防火墙,只放行特定ip,日差则使用openVPN能实现内网访问
遇到的问题
无法访问内网ipv6
子网设备获取了公网ipv6地址,但只能内网互访,外网无法连接,比方说利用手机流量,ipv6连接内网群晖失败
无法通过ipv6和openVPN连接内网设备
openVPN客户端连接服务端成功,可以ping通以及通过ip地址192.168.78.1访问ikuai管理页面,但无法访问ikuai子网设备
解决办法
先解决无法连接内网ipv6的问题
问题1解决方法
关掉光猫的ipv6防火墙(关掉以后,在ikuai设置ACL规则)
查看光猫背后的用户名密码并登录,不需要超级管理员
- 进入<安全>-<防火墙>-<攻击保护设置>-取消勾选Ipv6Spi
- 完成,外网ipv6访问全部内网设备
问题2现状
可以通过ipv6的openVPN连接ikuai,但不能访问内网设备
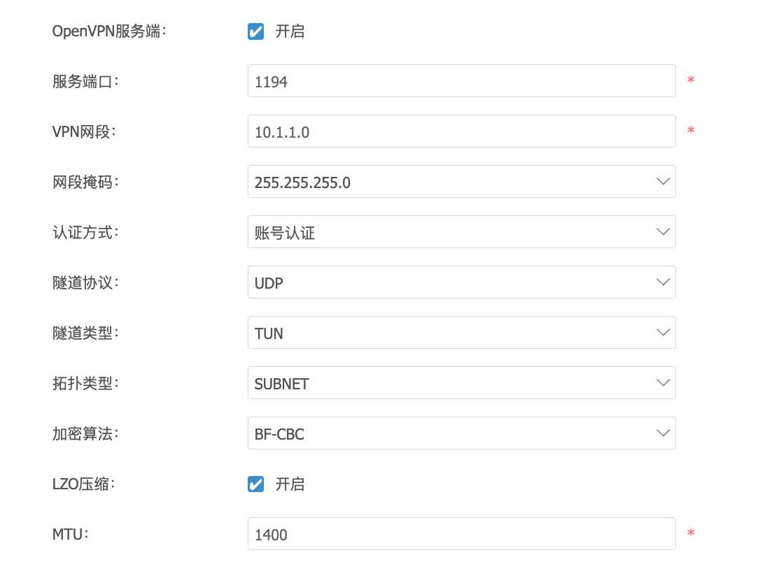
- openvpn服务端配置:
- openvpn客户端配置
- 配置<认证计费>-<认证账号管理>-<账号管理>,账户名/密码随便写,openVPN客户端登录时用,其他如下
问题2解决办法:新增静态路由
线路:自动
目的地址;192.168.78.0
子网掩码:255.255.255.0 (24)
网关:192.168.78.1
问题分析
ikuai的<应用工具><路由追踪>功能,做路由跟踪
第一个:ping了内网设备192.168.78.239,第一跳为ikuai的wan口网关192.168.1.1 第二跳到外网,没有经过ikuai的lan口192.168.78.1
第二个:ping了lan口ip 192.168.78.1,能直接跳过去
于是判断应该是少了78.1到78.0/24网段的路由当前路由表如下:
线路1:wan1
目的地址:0.0.0.0
子网掩码:0.0.0.0
网关:192.168.1.1线路2:sovpn(我的openVPN)
目的地址;10.1.1.0
子网掩码:255.255.255.0
网关:0.0.0.0线路3:wan1(出外网)
目的地址:192.168.1.0
子网掩码:255.255.255.0
网关:0.0.0.0线路3: doc_ddnsToGo(我弄的docker容器)
192.168.11.0
255.255.255.0
0.0.0.0于是添加78.1到78.0/24的静态路由解决问题